Primera idea de base.


Con los componentes seleccionados lo primero es montar una base, el proceso es bastante sencillo ya que los motores y las ruedas están diseñados para encajar directamente, y los soportes para fijar el motor a la base del robot también lo venden hecho a medida, por lo que simplemente es cortar un trozo de plástico, madera, etc.. con la forma deseada y fijar los componentes.

Para hacer la base utilizo una lamina de PVC espumado, de 4mm, suelen venderlas en bastantes sitios de diversos tamaño. En este caso tenía una de 20 cm x 20 cm y la voy a utilizar para hacer una primera idea de base. Las ventajas de este material es que es muy ligero y muy fácil de trabajar y estéticamente resulta mejor que la madera, desventaja su flexibilidad en piezas largas.

El robot tiene que tener unas dimensiones inferiores a 30 cm de largo y 20 cm de ancho, y no puede superar los 13 cm de altura. Para diseñar la base habría que hacer un análisis mecánico de como influyen las distintas dimensiones en el movimiento del robot, por ejemplo cuanto más ancho sea el robot mayor tendrá que ser la diferencia de velocidad de los motores para girar con un ángulo, cuanto más largo más espacio tendremos entre el centro de gravedad y la placa de sensores por lo que nos podemos anticipar a la curva, pero también será mayor el peso o las inercias, mayor será la derivada del error de los sensores para una velocidad de giro, etc.. Son muchas variables que analizar, y en pricipio poco sé de mecánica para poder hacerlo, por lo que en un primer diseño sólo voy a seguir 3 criterios:  primero hacer el robot lo más ligero posible ya que los motores no son muy potentes. Segundo que el centro de gravedad del robot esté sobre el eje de las ruedas, de esta forma tendremos la máxima tracción y facilitaremos el giro del robot, y tercero que el centro de gravedad del robot esté lo más lejos posible de la placa de sensores para anticiparnos a las curvas.

Con estas ideas voy a utilizar la longitud máxima de la plancha que tengo, 20 cm de largo, y la anchura en principio la mínima posible por quitar peso 7.5 cm de base, que es lo necesario para que encaje bien la batería, habría que estudiar como influye la distancia entre ejes ya que es bastante importante en estos robots.

Lo primero es tomar medidas y dibujarse una plantilla del diseño de la base del robot que se utilizará para cortar, lo mejor es hacerlo con cualquier programa de dibujo para ser totalmente precisos, o dibujarlo a mano con bastante cuidado.

Los componentes utilizados son los siguientes:

Motores. 2x$16 = $32. Link.
Ruedas. $7. Link.
Soporte motores. $5. Link.
Rueda loca. $4. Link.
Placa de sensores. $15. Link.
Electronica. $30. Link.

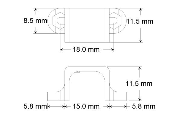
De su página podemos sacar las dimesiones de varios de ellos, por lo que nos evitamos tener que medir a mano con el consiguiente error.

Imagenes de www.pololu.com

Soporte de los motores.



Rueda.


Rueda loca.


Placa de sensores.


Dimensiones en pulgadas y centimetros.

Con estas dimesiones dibujamos la plantilla de nuestra base que después utilizaremos para cortar el robot. Click en las imagenes para mayor resolución.


Situamos la plantilla encima del PVC con los taladros marcados y procedemos a marcar sobre el PVC las líneas de corte con una cuchilla y un punzón.


Una vez marcado pasamos a cortar la pieza con otra cuchilla, el PVC es un material muy blando que se corta con facilidad, no necesitaremos ningún tipo de herramienta.


Y hacemos los taladros que hayamos marcado. No es necesario un taladro, con una broca o un destornillador y girandolo con la mano suele ser suficiente.


El resultado final del montaje queda así.


Si hemos hecho bien los cálculos (en este caso hacer más ancha o menos ancha la parte entre los motores y los sensores será la solución del cálculo para colocar el centro de gravedad) el centro de gravedad para la base estará sobre el centro del eje de los motores, y la base tendrá que ser capaz de sostenerse sobre las dos ruedas sin tener puesta la rueda loca o tercer punto de apoyo. Aún faltan componentes por añadir y ya se equilibraran después, los principales que más peso añaden son los de la base.


Por último colocamos la rueda loca, haciendo un agujero a través de la base partiendo del taladro inicial (es recomendable dibujar el diametro de esta rueda en la plantilla y marcarlo con la cuchilla en la base), la altura que queda más o menos es similar a la de las ruedas y no hace falta ajustar. Se recorta un poco la parte delantera para sacar los conectores de los sensores. Con tubos metálicos como el que se ve en la foto que en un lado tienen un tornillo macho y en el otro la parte hembra, se usará para colocar una segunda plataforma con la electrónica, pulsadores, leds, etc..


Vista inferior.


Se monta un tornillo un poco alto para evitar que los sensores choquen contra el suelo, al ser el PVC bastante flexible podemos tener alguna ooscilación, con el tornillo de esta forma también garantizamos que haya una distancia mínima siempre del sensor al suelo, ya que si estuviera totalmente pegado no podría leer, la luz que sale del fotodiodo tiene que llegar al foto transistor, y para ello ha de haber una distancia mínima entre el sensor y el suelo.


El peso total de la base es de 124 gr, lo que resulta un velocista bastante ligero. Los motores son de 200 gr-cm con 1.6 cm de radio de rueda, por lo que habrá que ver en la pista que velocidad conseguimos. En un robot diferencial la aceleración de los motores es importante, porque disminuimos y aumentamos la velocidad de cada rueda para realizar los giros.


Por últimos tenemos que soldar los conectores que vienen con la electrónica que hemos comprado.


Para soldaduras pequeñas el 14S de JBC con punta de 0.5 mm es ideal.


La placa de microcontrolador + puente en h tiene las dimensiones para poder ser pinchada sobre una protoboard, lo que vendrá muy bien para hacer pruebas.


Por lo que la base del robot completa quedaría de esta forma, para sujetar la batería se han puesto un par de bridas.


Lo siguiente es analizar con detalle la electrónica, la placa de sensores y la placa del microcontrolador, de las que tenemos librerias y código de ejemplo de los robots de pololu, una vez hecho ésto se realizará una placa en la que pinchar la plaquita del microcontrolador, con puladores, leds, etc..

Para cualquier cometario, duda, idea:
Foro.